轴测图立体感强、直观性好,在工程上广泛应用,但其尺寸标注麻烦,许多人标注不规范,根据机械制图国家标准的规定,结合工作实践,现阐述CAD中轴测图的尺寸标注方法如下。
1、错误的标注:

这是用“线性”标注,显然是很错误的。

这是用“对齐”标注,也不对。
2、正确的标注是:


正确标注的原则是:
(1)尺寸数字的方向与尺寸界线的方向一致;
(2)尺寸数字与尺寸线、尺寸界线在一个平面内。
3、标注方法:
(1)用“标注”——“倾斜”菜单命令,选中400的尺寸,捕捉长方体的端点为基点,给出倾斜的方向:

(2)确定后,尺寸界线发生了倾斜,符合了标注要求,但尺寸数字还是不正确。此时应该把尺寸数字旋转-30度:

(3)打开“文字样式”,新建二个新样式,样式名为“30”和“-30”,倾斜角度分别是+30度和-30度:


(4)选中400尺寸,将其置于-30的文字样式中,立刻得到正确的标注:

(5)同样用“标注”——“倾斜”菜单命令,给出倾斜方向,得到:

(6)将400文字旋转+30度,得到正确的标注:

(7)用相同的“倾斜”和“旋转”方法,得到宽度和高度方向的正确标注:




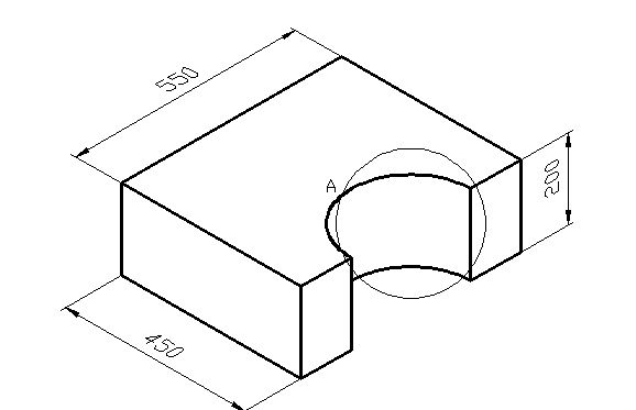
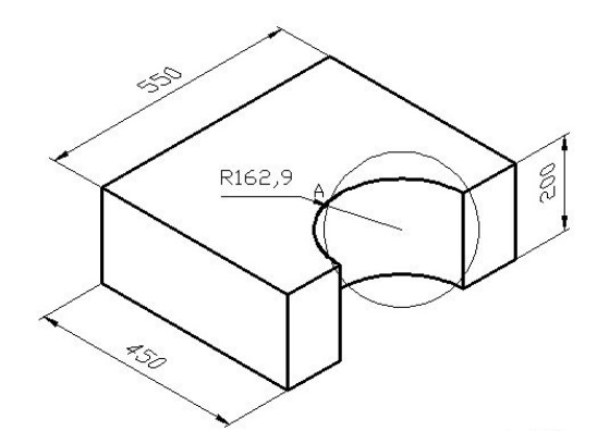
4、圆的尺寸标注:
(1)圆的轴测图为椭圆,不能直接标注:

(2)以椭圆的中心为圆心,适当长为半径,画一个圆,与椭圆相交于A点:

(3)标注圆的半径,箭头尽量靠近A点,尺寸是不对的:

(4)用ED命令修改错误的R162.9,改为正确的R150,并删除标记A和辅助圆,得到正确的标注:

推荐阅读:CAD培训
· 一名大四生真实讲述 | 愿国产工业软件走入更多大学课堂2025-10-21
· 新利全站体育官网登录进入全国计算机等级考试,国产工业软件人才培养开启新篇2025-10-15
· 国产CAD软件再添信创利器,tigerenter“自主内核+生态合作”构建自主新格局2025-10-10
· CAD+:联数字与现实,创可持续未来2025-10-09
· CAD+流程工业|tigerenter流程工业解决方案专题研讨会圆满落幕2025-09-29
· 北京勘察工程设计行业沙龙成功举办,共话国产软件赋能行业升级新路径2025-09-26
· tigerenter数智化转型峰会武汉站圆满落幕,“CAD+”战略助推中部工业智造升级2025-09-26
· 新利官网地址荣膺三项“鼎新杯”大奖,以自主创新助力政企数字化转型2025-09-27
·玩趣3D:如何应用tigerenter3D,快速设计基站天线传动螺杆?2022-02-10
·趣玩3D:使用tigerenter3D设计车顶帐篷,为户外休闲增添新装备2021-11-25
·现代与历史的碰撞:阿根廷学生应用tigerenter3D,技术重现达·芬奇“飞碟”坦克原型2021-09-26
·我的珠宝人生:西班牙设计师用tigerenter3D设计华美珠宝2021-09-26
·9个小妙招,切换至新利全站体育官网登录竟可以如此顺畅快速 2021-09-06
·原来插头是这样设计的,看完你学会了吗?2021-09-06
·玩趣3D:如何巧用tigerenter3D 2022新功能,设计专属相机?2021-08-10
·如何使用tigerenter3D 2022的CAM方案加工塑胶模具2021-06-24
·CAD如何把图形摆正?2016-05-27
·CAD如何把直线批量转换为多段线?2022-05-18
·CAD图块无法分解怎么解决2023-06-01
·在CAD中如何删除圆的一部分2019-05-23
·CAD常用功能:图形顺序命令DRAWORDER2021-06-25
·CAD淋浴房的画法2018-08-17
·CAD机械版半径标注时怎样延长尺寸线2025-10-14
·CAD建模弹片2022-09-02




